|
|
联系电话:010-66166678 |
|
|
联系电话:010-66166678 |
一、预约方式
自 2023 年 9 月 19 日起,可通过网上北京市公安局律师会见预约平台进行会见预约。具体操作是进入北京市人民政府官网,在官网首行搜索框填写 “律师会见”,点击热门推荐下的 “律师预约会见系统”,登录后选择会见方式,填写预约申请信息。预约时间:可以预约 2 个工作日(含预约当日),每天早上 7 点可以抢号。取消预约:如果取消,可以在 “我的会见” 栏目下一键点击取消。注意按时参加会见,一个月内未按时参加会见 3 次以上的账号,将限制当月预约。


二、预约手续
首次会见:需提供律师证原件和复印件、律所介绍信原件(盖律所骑缝章和落款章,落款时间可询问工作人员后填写,一般为会见当日)、授权委托书原件(近亲属签字和捺印)、近亲属身份证复印件(近亲属签字和捺印)、近亲属和犯罪嫌疑的亲属关系证明复印件(如结婚证、户口本等,近亲属签字和捺印)。后续会见:应提供律师证原件和复印件、律所介绍信原件(盖律所章、写律师姓名、电话)、授权委托书(犯罪嫌疑人本人签字和捺印)。相关手续模板可在首都律协官网下载。

三、注意事项
1、物品携带:手机和电脑等电子设备不可带进会见室,要留在接待室的储存柜子,书包可以带进去。确需要用电脑可以提出申请,经允许后方可带入。
2.材料交接:需要提交给犯罪嫌疑人或被告的任何材料都需要交给警官转交,警官要检查是否携带其他材料,不要自己提交给会见人。
3、会见记录:犯罪嫌疑人 / 被告本人委托书建议多准备几份,和会见笔录一起在会见结束时让其签字并按手印。部分看守所提供印泥,不放心可自带。
4、着装要求:虽然刑事会见没有严格的着装规定,但律师最好着正装,保持整洁、得体、庄重,以体现对法律和当事人的尊重。如果是出庭辩护,根据《律师出庭服装使用管理办法》,律师担任辩护人参加法庭审理,必须穿着律师出庭服装,内着浅色衬衣,佩带领巾,外着律师袍,律师袍上佩带律师徽章,下着深色西装裤、深色皮鞋,女律师可着深色西装套裙。
5、沟通内容:律师会见时可以转达亲友对犯罪嫌疑人、被告人的问候,了解他们在押期间的生活情况、案件的最新进展,解答他们提出的法律咨询等。但要注意遵守法律法规和看守所的规定,不得传递违禁物品、不得教唆犯罪嫌疑人串供或作伪证等。
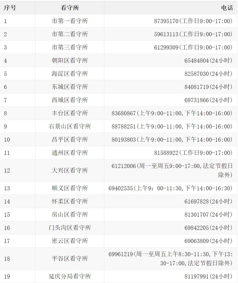
以下是北京各看守所的联系电话,方便您在需要时进行联系:

Copyright © 2024 北京高师律师事务所 手机:19568712881 座机:010-66166678 邮编:100073 网址:www.bjgaoshi.com 地址:北京市丰台区国投财富广场5号楼808